易象图说内篇
| 经名:易象图说内篇。原题元张理述。三卷。底本出处:《正统道藏》洞真部灵图类。参校版本:文渊阁《四库全书》本(简称四库本)。 |
易象图说序1
《易》之象与天地准,故於天地之理无所不该,是以阴阳错综,奇偶离合,无不有以相通焉。《周官》三易,经卦皆八,其别皆六十有四;以八为经,以六十四为纬,画卦之次序,先天之图位瞭然矣。则伏羲作《易》时,已有其图,传之三代,故夫子极、仪、象、卦因而重之之说,与京君明、魏伯阳纳甲卦气之法,皆圆图之序。则先天图其来已久,持后之说《易》者不复追究作《易》原本,故其图虽在,而学者不传,至邵子而后得耳。先儒谓邵子传之李穆,李穆自希夷意,其必不妄也。或又谓启蒙先天图出自蔡氏,而朱子因之,不知朱汉上已有此图,则其出於邵氏为无疑。虽圣人复起,不易其言矣。
然《易》道广大无穷,学者能随其所见,亦皆有得。惟其出於自然而无所穿凿,则虽古人之所未发,亦足以成一家之言也。清江张君仲纯,资敏而学笃,於诸经无不通,而尤邃於《易》。尝以其玩索之力著为《易象图说》一篇2,其极、仪、象、卦,图以奇上偶下,各生阴阳、刚柔、内外、交变,而卦画之原,四时之义,性命之说,图书之数,蓍策变占,靡不周备。六十四卦圆图,以乾、兑、离、震、坤、艮、坎、巽循环旋布,而天地之动静,一岁周天之气节,一月太阴之行度,皆可见;方图以乾、兑、离、震、巽、坎、艮、坤,纵自上而下,横自左而右,而《参同契》、邵子《太易3吟》十二月之卦气、二十八舍之象,皆可推变通。图由《乾》《坤》反覆相推,阳以次而左升,阴以次而右降,而六阴六阳辟卦之序粲然可考致用。图以后天八宫各变七卦,而四正四隅反对之象秩然有纪,皆巧妙整齐,不烦智力,无毫发可以增损,无纤隙有所疑议4,所谓出於自然,而无所穿凿者,当续邵子、朱子之图,而自为一家,亦可以见《易》象无所不通,惟学者能随所见而实有得焉,然后可以传世而不惑也。仲纯学力高明,与予知最久。《图说》既成,首辱见示。予特爱其象类浑成而条理精密,故僭书于首,简而归之。至正丁酉秋七月昭武紫云山人黄镇成谨序。
《易》曰:河出图,洛出书,圣人则之。图书者,天地阴阳之象也。《易》者,圣人以写天地阴阳之神也。故一动一静,形而为一⚊一⚋,奇偶生生,动静互变,四象上下,左右相交,而《易》卦画矣。☰以画天,☷以画地,☵以画水,☲以画火,☱以画泽,☶以画山,风因於泽,雷因於山,卦以表象,象以命名,名以显义,义以正辞,辞达而《易》书作矣。将以顺性命之理,究礼乐之原,成变化而行鬼神者,要皆不出乎图书之象与数而已。图之天○者,⚊也。图之地
者,⚋也。图之中
者,四象×古五字行也。阳数一、三、五,参天也三谓之参,阴数二、四,两地也。二谓之两。参天数九,阳之用也。两地数六,阴之用也。书之衡,三卦之体也。书之井,九卦之位也。书之纵横5,十五卦之合也。乾九坤六,合十五。坎七离八,合十五。震七巽八,合十五。艮七兑八,合十五,河图、洛书,相为经纬。五十者,图书之枢纽也。以五重十
,则左右前后者,河图四正之体也。以五交十,则四正四隅者,洛书九宫之文也。顺而左还者,天之圆,浑仪历象之所由制。逆而右布者,地之方,封建井牧之所由启也。以圆函方
,以方局圆
,则范围天地之化而不6过,曲成万物而不遗矣。唯人者,天地之德,阴阳之交,鬼神之会,五行之秀气也。身半以上同乎天,身半以下同乎地;头圆足方,腹阴背阳;离目外明,坎耳内聪;口鼻有肖乎山泽,声气有象乎雷风,故天下之理得而成位乎其中。是知《易》即我心,我心即《易》,故推而图之,章之为六位而三极备,叙之为六节而四时行,合之为六体而身形具,经之为六脉而神气完,表之为六经而治教立,协之为六律而音声均,官之为六典而政令修,统之为六师而邦国平,是故因位以明道,因节以叙德,因体以原性,因脉以凝命,因经以考礼,因律以正乐,因典以平政,因师以慎刑,而大《易》八卦之体用备矣。已上八图,今附外篇7八卦相错,相摩相荡,因而重之,变而通之,推而行之,而六十四卦圆方变用之图出矣。圆者以效天,方者以法地,变者以从道,用者以和义,然后蓍策以综其数,变占以明其筮,分挂揲归,交重支变,悉皆为图以显其象,为说以敷其趣。虽其言不本於先儒传注之旨,或者庶几乎圣人作《易》之大意,改而正之,谂而订之,是盖深有望於同志。时至正二十有四年,青龙甲辰三月上巳日,清江后学张理书于三山之艮所。
易象图说内篇卷上 清江后学张理仲纯述
希夷陈先生《龙图序》曰:且夫龙马始负图,出於羲皇之代,在太古之先也。今存已合之位尚疑之,况更陈其未合之数邪?然则何以知之?答曰:於夫子三陈九卦之义探其旨,所以知之也。况夫天之垂象,的如贯珠,少有差则不成次序矣。故自一至於盈万,皆累然如系之於缕也。且若龙图便合,则圣人不得见其象,所以天意先未合而形其象,圣人观象而明其用。是龙图者,天散而示之,伏羲合而用之,仲尼默而形之,始龙图之未合也。惟五十五数,上二十五,天数也,中贯三、五、九,外包之十五,尽天三、天五、天九,并十、五之位,后形一、六无位,又显二、十、四之为用也。兹所谓天垂象矣。下三十,地数也,亦分五位,皆明五之用也。十分而为六,形地之象焉。六分而成四象,地六不配。在上则一不配形二、十、四,在下则六不用,亦形二、十、四,后既合也。天一居上为道之宗,地六居下为器之本,三斡地二、地四为之用。本注:参,一、三、×天数合九,《乾》元用九也。两,二、四地数合六,《坤》元用六也。三若在阳则避孤阴,在阴则避寡阳。本注:成八卦者,三位也。上则一、三、五为三位,二、四无中正不能成卦,为孤阴。下则六、八、十为三位,七、九无中正不能成卦,为寡阳。三皆不处,若避之也。大矣哉,龙图之变,歧分万途。今略述其梗槩焉。
仲尼默示三陈九卦
《履》,德之基。序卦次+,明用十,示人以辨上下也。
《谦》,德之柄。次十五,明用十五,示人以衰多益寡。
《复》,德之本。次二+四卦,示气变之始。
《恒》,德之固。下经次二卦,示形化之始。
《损》,德之修。《益》,德之裕。此二卦示人以盛衰之端。
《困》,德之辨。《井》,德之地。此二卦示人以迁通之义。
《巽》,德之制。巽以行权。权者,圣人之大用也。因事制宜,随时变易之义备矣。
本图书一

右龙图天地未合之数。
上位天数也,天数中於五,分为五,五五二十有五,积一、三、五、七、九,亦得二十五焉。五位纵横见三,纵横见五;三位纵横见九,纵横见十五。《序》言中贯三、五、九,外包之十五者,此也。下位地数也,地数中於六,亦分为五位,五六凡三十,积二、四、六、八、十,亦得三十焉。《序》言十分而为六,形地之象者,此也。
图书二

右龙图天地已合之位。
上位象也,合一、三、五为参天,偶四为两地,积之凡十五,五行之生数也。即前象上五位,上五去四得一,下五去三得二,右五去二得三,左五去一得四,惟中五不动。《序言》天一居上,为道之宗者,此也。按《律历志》云:合二始以定刚柔。一者,阳之始;二者,阴之始。今则此图,其上天○者,⚊之象也;其下地
者,⚋之象也;其中天
者,四象五行也;左上一▫太阳,为火之象;右上一▫少阴,为金之象;左下一▫少阳,为木之象;右下一▫太阴,为水之象。土者冲气居中,以运四方,畅始施生,亦阴亦阳。右旁三
,三才之象,卦之所以画三;左旁四
,四时之象,蓍之所以揲四,是故上象一、二、三、四者,蓍数卦爻之体也;下位形也,九、八、七、六,金、木、火、水之盛数;中见地十,土之成数也。即前象下五位以中央六分开,置一在上六而成七,置二在左六而成八,置三在右六而成九,惟下六不配而自为六。《序》言六分而成四象,地六不配者,此也。按:七者,蓍之圆,七七而四十有九;八者,卦之方,八八而六十有四;九者,阳之用,阳爻百九十二;六者,阴之用,阴爻亦百九十二;十者,大衍之数,以五乘十,以十乘五,而亦皆得五十焉。是故下形六、七、八、九者,蓍数卦爻之用也。上体而下用,上象而下形,象动形静,体立用行,而造化不可胜既矣。
按:一、二、三、四,天之象,象变於上;六、七、八、九,地之形,形成於下。上下相重,而为五行,则左右、前后、生成之位是也;上下相交,而为八卦,则四正、四隅、九宫之位是也。今以前后图参考,当如太乙遁甲阴阳二局图。一、二、三、四,犹遁甲天盘在上,随时运转;六、七、八、九,犹遁甲地盘在下,布定不易,法明天动地静之义。而前此诸儒未有能发其旨,是故一在南,起法天象,动而右转。初交,一居东南,二居西北,三居西南,四居东北,四阳班布居上右,四阴班布居下左,分阴分阳,而天地设位。再交,一居东北,二居西南,三居东南,四居西北,则牝牡相衔,而六子卦生,合是二变而成先天八卦自然之象也。然后重为生成之位,则一六、二七、三八、四九,阴阳各相配合,即邵子、朱子所述之图也。三交,一居西北,二居东南,三居东北,四居西南,则刚柔相错,而为坎、离、震、兑。四交,一居西南,二居东北,三居西北,四居东南,则右阳左阴,而乾、坤成列,合是二变而成后天八卦裁成之位也。再转,则一复于南矣。《大传》所谓参伍以变,错综其数。刘歆云:河图洛书,相为经纬;八卦九章,相为表里。此其义也。
鹤田蒋师文曰:谓河图成数在下象地而不动,生数象天运行而成卦,以先天八卦为自然之象,后天八卦为财成之位。观其初交而两仪立,再交而六子生,三交震兑相望而坎离互宅,四交乾坤成列而艮巽居隅。圣人升离於南,降坎於北,而四方之位正。置乾於西北,退坤於西南,而长女代母之义彰,则先天见自然之象,后天见财之位者,至明著矣。虽其说不本先儒,然象数既陈,而义理昭著,不害自为一家之言也。子朱子尝曰:无事时好看河图洛书数,且得自家流转得动。今观仲纯此说而尤信。
图书三

右龙图天地生成之数。
此即前图。一、二、三、四,天之象也,动而右旋;六、七、八、九,地之形也,静而正位。是故一转居北,而与六合;二转居南,而与七合;三转居东,而与八合;四转居西,而与九合;五十居中,而为天地运行之枢纽。《大传》言错综其数者,盖指此而言。错者,交而互之,一左一右,三四往来是也。综者,综而挈之,一低一昂,一二上下是也。分作二层看之,则天动地静,上下之义昭然矣。
图书四

右洛书天地交午之数。
杨子云曰:一与六共宗,二与七为朋,三与八为友,四与九同道,五与五相守。正指此图而言。朱子谓析六、七、八、九之合以为乾、坤、坎、离,而居四正之位;依一、二、三、四之次以为艮、兑、震、巽,而补四隅之空者,与此数合。稽之生成之象,察其分合、进退、交重、动静灼然,信其为交午之象,而所谓大衍之数五十,其用四十有九,蓍策分卦8揲、归四象七、八、九、六,皆仿於此矣。
图书五

右洛书纵横十五之象。
《洪范》初一曰五行,次二曰敬用五事,次三曰农用八政,次四曰协用五纪,次五曰建用皇极,次六曰乂用三德,次七曰明用稽疑,次八曰念用庶征,次九曰向用五福,威用六极。汉儒以此六十五字为洛书本文,而希夷所传则以此为龙图三变,以生成图为洛书本文,盖疑传写之误,而启图九书十之辨。今以二象两易其名,则龙图龟书不烦拟议而自明矣。
《易·大传》曰:河出图,洛出书,圣人则之。
孔安国云:河图者,伏羲氏王天下,龙马出河,遂则其文以画八卦。洛书者,禹治水时,神龟负文而列于背,有数至九,禹遂因而第之,以成九类。刘歆云:伏羲氏继天而王,受河图而画之,八卦是也。禹治洪水,赐洛书,法而陈之,九畴是也。河图、洛书,相为经纬;八卦、九章,相为表里。
关子明云:河图之文,七前六后,八左九右。洛书之文,九前一后,三左七右,四前左,二前右,八后左,六后右。
邵子曰:圆者,星也。历纪之数,其肇於此乎?历法合二始以定刚柔,二中以定律历,二终以纪闰余,是所谓历纪也。方者,土也,画州井地之法,其仿於此乎?州有九井九百亩,是所谓画州井地也。盖圆者河图之数,方者洛书之文,故羲、文因之而造《易》,禹、箕叙之而作《范》也。
天一、地二、天三、地四,天五、地六,天七、地八,天九、地十。天数五,地数五,五位相得而各有合。天数二十有五,地数三十,凡天地之数五十有五。此所以成变化而行鬼神也。
此一节盖以发明图、书之数。凡奇为阳,阳者天之数;凡偶为阴,阴者地之数。天数一、三、五、七、九,积之为二十五;地数二、四、六、八、十,积之为三十,合是二者为五十有五,而天地变化,阴阳屈伸,举不出乎此数。是数也,两之为二仪,参之为三才,伍之为五行,分之为八卦,究之为九宫,此其大要也。朱子曰:天地之间,一气而已,分而为二,则为阴阳,而五行造化、万物终始,无不管於是焉。《内经》曰:阴阳者,数之可十,推之可百;数之可千,推之可万;万之大,不可胜数;范之以易,则不过、不遗而无不通矣。
参伍以变,错综其数。通其变,遂成天地之文。极其数,遂定天下之象。非天下之至变,其孰能与於此?
此一节又以发明图书之变。参谓参於两间,如《记》云离坐离立,毋往参焉之参。攷之图变,如一、二、三、四,参居六、七、八、九之间者是也。伍谓伍於五位,如什伍、部伍之伍。攷之图变,如一、二、三、四,伍於六、七、八、九之土者是也。错者,交而互之,一左一右之谓。攷之图变,则三四左右互居是也。综者,综而挈之,一低一昂之谓。攷之图变,则一二上下低昂是也。既参以变,又伍以变,错而互之,综而交之,而天地之文成,天下之象定,然则河图、洛书,其肇天下之至变者与?
昔者圣人之作《易》也,幽赞於神明而生蓍,参天两地而倚数,观变於阴阳而立卦,发挥於刚柔而生爻,和顺於道德而理於义,穷理尽性以至於命。
此章乃圣人作《易》之大旨,而蓍数卦爻之本原也。幽赞於神明,言圣人斋戒洗心,退藏於密,而神明阴相默佑。四十九蓍用以分、挂、揲、归,而生阴、阳、刚、柔之策;天数地数参两相倚,以明九、八、七、六之象,故观变於天之阴阳而卦象立,发挥於地之刚柔而爻义生,和顺於道德而条理各适其宜,穷天地阴阳刚柔之理,尽己之性以尽人物之性,则可以赞天地之化育,而与造化之流行者无间,此则圣人至诚之极功也。
昔者圣人之作《易》也,将以顺性命之理。是以立天之道曰阴与阳,立地之道曰柔与刚,立人之道曰仁与义,兼三才而两之,故《易》六画而成卦;分阴分阳,迭用柔刚,故《易》六位而成章。
圣人作《易》,将以顺性命之理,大抵为斯人而作也。故观於阴阳,而立天之道。天之道,寒、暑、昼、夜而已矣。察於刚柔,而立地之道。地之道,流、峙、生、植而已矣。本於仁义,而立人之道。人之道,孝、悌、忠、信而已矣。盖人禀阴阳之气,以有生赋刚柔之质,以有形具仁义之理,以成性、气、形,质具性成,而三才之道备矣。故以八卦言,则初为地,中为人,上为天,而有奇偶之异,兼三才而两之。以重卦言,则初、二为地,三、四为人,五、上为天。分而言之,初、三、五为位之阳,二、四、上为位之阴。阳为刚,阴为柔,阴阳刚柔,迭用於一卦六爻之间,相错而成文章也。
《易》之为书也,广大悉备,有天道焉,有人道焉,有地道焉,兼三才而两之,故六;六者,非他也,三才之道也。道有变动,故曰爻;爻有等,故曰物;物相杂,故曰文;文不当,故吉凶生焉。
道者,天、地、人之道,天之一阴一阳交而成五,地之一柔一刚交而成十,五、十重而成爻,变动之谓也。爻也者,效此者也;爻也者,效天下之动者也。等,差等也。等字,从竹,筭筹也。从十从一,数之终始也。以不持而筭之,指事义也。旧说等从等,於义无取,今正之。爻之动静,有初、二、三、四、五、上之等,七、八、九、六之差,故曰物。物,时物也。七、九为奇,而凡物之阳者,质之刚者,皆为《乾》之物。六、八为偶,而凡物之阴者,质之柔者,为《坤》之物。分而言之,九阳而六阴,七刚而八柔。阴阳,象也。刚柔,形也。故九六变而七八不变,爻用九、六,主变而言也。又曰:蓍数七,卦数八,刚柔之体,所以立《乾》爻用九,《坤》爻用六,阴阳之用所以行。阴阳合德,刚柔有体,相错杂而成文。文,文章也。文字从乂,阴阳相交之象。文而当则吉,居得其正,动而适中,则合乎物宜,而吉生矣。吉字从十,阴变阳者也。从口,阳变阴者也。一字谐声,居变动中,变而克正,故为吉,会意。《书》曰:德惟一动,罔不吉。《传》曰:天下之动,贞夫一者也。金华王鲁斋,以吉字为老阳出土之象。文不当则凶,居失其中,动而匪正,则入于坎陷,而凶生矣。凶字从乂,变动者也。动而陷于口中,则失其中正而凶之。刂,陷坑也,会意。金华王鲁斋,以凶字为老阴入地之象。故曰:吉、凶、悔、吝生乎动。
易象图说内篇卷上竟
1.“图说序”四库本作“图说原序”。
2.“一篇”原作“一编”,据四库本改。
3.“太易”四库本作“大易”。
4.“疑议”四库本作“拟议”。
5.“纵横”原作“纵衡”,据四库本改。
6.“不”原脱,据四库本补。
7.“附外篇”原作“付卜篇”,据四库本改正。
8.“卦”四库本作“挂”。
易象图说内篇卷中 清江后学张理仲纯述
原卦画一

右太极生两仪之象。《易》本无乾坤,止有此⚊⚋。
太极判,而气之轻清者上浮为天,气之重浊者下凝为地。圣人仰观俯察,受河图,则而画卦,则天○以画⚊,则地
以画⚋;名⚊曰奇,为阳;名⚋曰偶,为阴。此上奇下偶者,天地之定位;中五者,天地气交,四象八卦,万物化生之本。《乐记》所谓一动一静者,天地之间也。周子曰:太极动而生阳,动极而静;静而生阴,静极复动;一动一静,互为其根;分阴分阳,两仪立焉。
卦画二

右两仪生四象之象。《易》本无八卦,止有此乾坤。
朱子曰:阳仪生奇为太阳,生偶为少阴;阴仪生奇为少阳,生偶为太阴。旧图四象平布,生生不息。今图阳仪下生一奇一偶,为阴阳;阴仪上生一奇一偶,为刚柔。四象圜转,循环不穷;刚交於阴,阴交於刚;阳交於柔,柔交於阳;上下左右相交,而万物生焉。周子曰:阳变阴合,而生水、火、木、金、土,五气顺布,四时行焉。《传》曰:立天之道曰阴与阳,立地之道曰柔与刚。此之谓也。
右两仪生四象。阴仪上生一奇,为少阳。少阳者,阴中之阳。东方阳气生物,於时为春。春,蠢也。物蠢生乃能运动,故中规。在天为风,在地为木,上为岁星,在德为元。元者,善之长也。在体为筋,在藏为肝,通於目。在志为怒,其声呼,其色苍,其味酸,其音角,其畜鸡,其谷麦,其数三木之生数。
阳仪下生一奇,为太阳。太阳者,阳中之阳。南方阳气养物,於时为夏。夏,假也。物假大乃宣平,故中衡。在天为热,在地为火,上为荧惑星,在德为亨。亨者,嘉之会也。在体为脉,在藏为心,通於舌。在志为喜,其声笑,其色赤,其味苦,其音徵,其畜羊,其谷黍,其数七火之成数。
阳仪下生一偶,为少阴。少阴者,阳中之阴。西方阴气敛物,於时为秋。秋,揫3也。物揫敛乃能成熟,故中矩。在天为燥,在地为金,上为太白星,在德为利。利者,义之和也。在体为皮毛,在藏为肺,通於鼻。在志为忧,其声哭,其色白,其味辛,其音商,其畜马,其谷稻,其数四金之生数。
阴仪上生一偶,为太阴。太阴者,阴中之阴。北方阴气藏物,於时为冬。冬,终也。物终藏乃可称,故中权。在天为寒,在地为水,上为辰星,在德为贞。贞者,事之干也。在体为骨,在藏为肾,通於耳。在志为恐,其声呻,其色黑,其味咸,其音羽,其畜彘,其谷豆,其数六水之成数。
中央者,阴阳之中,四方之内,经纬交通,乃能端直,故中绳。於时为四季。在天为湿,在地为土,上为镇星,在德为诚。周子曰:元亨,诚之通。利贞,诚之复。在体为肉,在藏为脾,通於口。在志为思,其声歌,其色黄,其味甘,其音宫,其畜牛,其谷稷,其数五。土之生数。
卦画三

右四象生八卦之象。《易》本无六十四卦,止有此八卦。
古者伏羲氏之王天下也,仰则观象於天,俯则观法於地,观鸟兽之文,与地之宜,近取诸身,远取诸物,於是始作八卦,以通神明之德,以类万物之情。与地之间,一本有天字。
右言圣人作卦之由
《易》有太极,是生两仪;两仪生四象,四象生八卦,八卦定吉凶,吉凶生大业。
右言圣人画卦之旨
右四象,阳下交於柔,柔上交於阳,而成乾坤天地定位、艮兑山泽通气。刚上交於阴,阴下交於刚,而成震巽雷风相薄、坎离水火不相射。天秉阳,垂日星离为日,兑为星。在天者仰而反观,故乾、兑、离、震天之四象,自上而下生。地秉阴,窍山川艮为山,坎为川。在地者俯而顺察,故坤、艮、坎、巽地之四象,自下而上生。八卦相错,上者交左,下者交右,则乾南坤北,离东坎西,而先天八卦圆图之象著矣。震、艮互观,反震为艮,反艮为震,则乾、坤、艮、巽居隅,坎、离、震、兑居中,而后天八卦方图之象著矣。由是动静相资,先后互体,圆方变用,而天地造化之义不可胜既矣。邵子曰:《乾》、《坤》为大父母见四象图,《复》、《姤》为小父母见八卦图。夫《易》根於《乾》、《坤》,而生於《姤》、《复》,盖刚交柔而为《复》,柔交刚而为《姤》,自兹而无穷矣。
又曰:八卦之象,不易者四乾、坤;坎、离;反易者二震反为艮,兑反为巽,以六变而成八也。

右本前四象生八卦图,阳仪上者交於左,阴仪下者交於右,而成此图。康节先生云,坤北、乾南,离东、坎西,震东北,兑东南,巽西南、艮西北者,指此而言。其中○者,太极也;
者,二仪也。前象奇偶定上下之位,由天地、四象、八卦总之,而会于中,所谓敛之不盈一握,万殊而一本也。此图阴阳列左右之门,由动静、四时、八方推之而达于外,所谓放之则弥六合,一本而万殊也。
《汤诰》曰:惟皇上帝,降衷于下民,若有恒性。刘子曰:民受天地之中以生。孔子曰:天地之性,人为贵。子思子曰:天命之谓性。中也,性也,天之所以与我者。稽之生成图,则见天地、四象、八卦、万物,皆备於我。程子所谓天然自有之中,孟子所谓万物皆备於我,曾子所谓忠,夫子所谓一,其理不外乎是矣。先天图由一而二,由二而四,由四而八,推而至于百千万亿之无穷。先儒所谓心为太极,具众理而应万事;孟子所谓强恕而行;曾子所谓恕,夫子所谓贯,其道亦不外乎是矣。学者於此虚心以玩之,反身而体之,实见是理,实得是道,默而成之,则道德性命之蕴,礼乐刑政之原,举不越乎此矣。

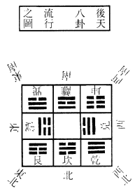
右本前四象生八卦图。中四卦反观之,则为震、兑、坎、离;旁四卦正观之,则为乾、坤、艮、巽,故此象坎、离、震、兑居四方之正,乾、坤、艮、巽居四隅之偏,稽之河图,一六居北为水,而坎当之。坎者,水也。二七居南为火,而离当之。离者,火也。三八居东为木,而震当之。震为雷,动於春也。四九居西为金,而兑当之。兑为泽,揫4於秋也。乾为寒,为冰,位於西北,附兑而为金。巽为扬,为风,位於东南,附震而为木。五十居中为土,而坤地、艮山分隶之。坤,阴也,故稽类而退居西南。艮,阳也,亦稽类而奠居东北。此后天八卦方位之所由定也。是故协之天时,验之地利,稽之人事,而四气运行之序可知矣。《说卦》曰:艮者,万物之所成终所成始也。物不可以无主,故帝出乎震。震,东方也,日之所出也。主器者莫若长子,长子用事而长女配之,故次之以巽,有宗子世妇之象。家齐而后国治,由家以及国,故次之以离。离也者,明也。圣人南面而听,天下大明,中天之象也。日中则昃,故次之以坤。坤者,顺也。致役乎坤,休工之义也,故次之以兑。兑,西方也,日之所入也。向晦入宴息,故曰说言乎兑。又次之以乾。乾,阳也,西北,阴方也。阴阳相薄,故曰战乎乾。次之以坎。坎者,水也,正北方之卦;夜半之时,幽阴之象,故曰劳乎坎。劳然后有成,故曰成言乎艮。而次之以艮终焉。
卦画六

右本前四象生八卦图,而左右四卦易位。乾、离、坎、坤居中,头、目、心、腹之象;震、艮、巽、兑居左右,手、足、股、肱之象。希夷先生以为形类合。盖人者,天地之合气也。惟皇降衷,若有恒性,故凡言道学者,皆原於此。《杂卦》云:乾刚坤柔,离上坎下,兑见巽伏,震起艮止。稽此而言。《参同契》云:乾坤者,易之门户,众卦之父母。坎离匡郭,运毂正轴。牝牡四卦,以为橐籥。亦为有得於此。今故表而传焉。
卦画七

右六十四卦循环之图。
《说卦》曰:天地定位,山泽通气,雷风相薄,水火不相射,八卦相错。数往者顺,知来者逆,是故易,逆数也。
右明先天六十四卦圆图之象。天地定位,乾南坤北。天尊乎上,地卑乎下。山泽通气,山镇西北,泽注东南。雷风相薄,雷出东北,风盛西南。水火不相射,离降而东大明日生於东,坎升而西小明月生於西。此以内象言,主乎静而镇位者也。八卦相错,错者交而互之,一左一右之谓。乾互巽,而巽互乾;坎互兑,而兑互坎;离互艮,而艮互离;坤互震,而震互坤。乾、兑、离、震,阳仪之卦,本在左方,今互居右方阴仪之上。坤、艮、坎、巽,阴仪之卦,本在1右方,今互居左方阳仪之上。由是刚柔相摩,八卦相荡,而变化无穷焉。申说详见下文。此以外象言,主乎动而趣时者也。圜转推荡,而成六十四卦;环周於八方,亦如二十八宿分布於十二辰,是故右行而数之,则乾、兑、离、震、坤、艮、坎、巽八卦,由内若外,如环之无端也。数往者顺;往谓已往过后之卦;顺者顺其八卦之叙,如自今日而追数前日,自冬至而数回立冬、秋分,则自坤而艮,而坎,而巽、乾,皆顺其叙而数之也。知来者逆,来谓方来在前之卦;逆者,逆其八卦之叙,如自今日而逆计来日,自冬至而数向立春、春分,则自坤而震,而离,而兑、乾,皆逆其叙而知之也。然凡《易》之数,皆由逆而推,生爻自下而上,数卦自右而左,故曰:《易》,逆数也。
按此图以先天图一仰一覆,下体八卦静而守位,上体八卦动而右转,由是刚柔相摩,八卦相荡,一贞而八悔。八八六十四卦,左右相交。震宫八卦,震交於坤,起於复,次震,次噬嗑,次随、无妄、益、屯,至颐,而得贞悔反对之象。震下艮上,二象反对。离宫八卦,离交於艮,起於贲,次明夷,次丰,次离、革、同人、家人,至既济,而得阴阳交中之卦。离下坎上,三阳三阴,昼夜平分。兑宫八卦,兑交於坎,起於节,次损,次临,次归妹、睽、兑、履,至中孚,而得贞悔反对之象。兑下巽上,二象反对。乾宫八卦,乾交於巽,起於小畜,次需,次大畜,次泰、大壮、大有、夬,至乾,而得六阳纯体之卦极焉。此图之左方也。巽宫八卦,巽交於乾,起於姤,次巽,次井,次蛊、升、恒、鼎,至大过,而得贞悔反对之象。巽下兑上,二象反对。坎宫八卦,坎交於兑,起於困,次讼,次涣,次坎、蒙、师、解,至未济,而得刚柔中分之卦。坎下离上,三刚三柔,昼夜平均。艮宫八卦,艮交於离,起於旅、次咸,次遯,次渐、蹇、艮、谦,至小过,而得贞悔反对之象。艮下震上,二象反对。坤宫八卦,坤交於震,起於豫,次晋,次萃,次否、观、比、剥,至坤,而得六阴纯体之卦周焉。此图之右方也。环而观之,则乾、坤、泰、否、坎、离、既、未、随、蛊、渐、归妹、颐、大过、中孚、小过,凡一十六卦,交易反对,三位相间,累累若贯珠,若纲在网,有条而不紊。察其自然之妙,非人力之所能为也。是故以一岁之节论之,震始交坤,一阳生冬至之卦。变坤为复,是以乾起於复之初九,而尽於午中。巽始消乾,一阴生夏至之卦。变乾为姤,是以坤起於姤之初六,尽於子中。乾、坤定上下之位,冬至变坤,阴多,多寒,昼极短,而夜极长;夏至变乾,阳多,多热,昼极长,而夜极短。冬夏二至,阴阳合也。乾坤交中而为坎离,坎离交而为既未,既未交南北两间之中,春分变既济而为节,是以坎起於节之九二,而尽於酉中。秋分变未济而为旅,是以离起於旅之六二,而尽於卯中。三阳、三阴,温凉适宜,昼夜平等,春秋二分,阴阳离也。立春变颐而为贲,颐卦二阳外而四阴内;立夏变中孚而为小畜,中孚四阳外而二阴内,此春夏阳在外而阴在内,圣人春夏养阳之时。立秋变大过而为困,大过二阴外而四阳内;立冬变小过而为豫,小过四阴外而二阳内,此秋冬阳在内而阴在外,圣人秋冬养阴之时。是则一岁周天之节备于图,而邵子所谓春夏秋冬,昼夜长短,由乎此者也。又以一月之度推之,则重坤之时,乃晦朔之间,以次而生明。小过之震反对二震,三日昏时出庚之西也;大过之兑反对二兑,八日上弦在丁之南也。至十五,则乾体就望而盛满,出於东方甲地,以渐而生魄。中孚之巽反对二巽,十八日平明见辛之西也;颐卦之艮反对二艮,二十三日下弦直丙之南也。此一月太阴之行度备于图,而邵子所谓晦朔弦望,行度盈缩,由乎此者也。至若艮东北之卦,万物之所成终所成始,故冬至之卦尽於艮山雷颐卦。而立春之节起於艮山火贲卦,自然之数也。故曰:易与天地准。
邵子曰:图虽无文,吾终日言而未尝离乎是,盖天地万物之理,尽在其中矣。
朱子曰:先天图,今以一岁之运言之,若大,而古今十二万九千六百年,亦只是这圈子;小,而一日十二时,亦只是这圈子,都从复上推起去。
《传》曰:天尊地卑,乾坤定矣。卑高以陈,贵贱位矣。动静有常,刚柔断矣。方以类聚,物以群分,吉凶生矣。在天成象,在地成形,变化见矣。是故刚柔相摩,八卦相荡。鼓之以雷霆,润之以风雨;日月运行,一寒一暑。乾道成男,坤道成女。
右《上系》首章,盖发明先天六十四卦圆图之义。天尊地卑,乾坤定矣。天清而居上,地浊而居下;上尊而下卑,乾坤之位以之而定也。卑高以陈,贵贱位矣。阳尊而阴卑,君尊而臣卑,各陈其位,贵贱之等以之而分也。动静有常,刚柔断矣。外动而内静,阳动而阴静,各守其常,刚柔之义以之而判也。上者亲乎天,下者亲乎地,乾、兑、离、震之卦类聚於东南,坤、艮、坎、巽之卦类聚於西北,而八卦之物亦皆随卦而群分,如马、牛、羊、豕各自为群,方以类聚,物以群分也。合沙郑氏曰:动物属阳,植物属阴。动者不能植,偏於阳也。植者不能动,偏於阴也。阴阳之物,以是而群分。唯人为能动而直,植而动,所以得阴阳之全,固能灵於物也。乾为阳之阳,为飞走之群。艮、坎、震,为阳之阴,为虫鱼之群。坤为阴之阴,为土石之群。巽、离、兑,为阴之阳,为草木之群。阴阳刚柔,善恶聚分,而吉凶生矣。吉凶者,失得之象也。雨、旸、燠、寒、风五者来备,各以其时2,吉之象也。一极备,一极无,凶之象也。事物之有得失,而休咎征,吉凶生,亦犹是也。在天成象,日、月、星、辰也;在地成形,水、火、木、金也。象见於天,形成於地,而变化之迹著矣。刚柔相摩,一、七、三、九为刚,二、六、四、八为柔;摩,研摩也,知摩之研转相摩而成八卦也。八卦相荡;荡,摇动也,以水涤器,荡转而摇动之谓,乾、坤、坎、离、震、艮、巽、兑相荡而成六十四卦也。鼓之以雷霆,震、艮之象也。润之以风雨,巽、兑之象也。日月运行,坎、离之象也。一寒一暑,日行南去极远而寒,日行北去极近而暑,此变化之成象者也。乾道成男,坤道成女,此变化之成形者也。按图而观,思过半矣。
卦画八

右六十四卦因重之图。
《说卦》曰:雷以动之,风以散之,雨以润之,日以烜之,艮以止之,兑以说之,乾以君之,坤以藏之。
右明先天六十四卦方图之象。邵子曰:图皆从中起。今按:雷以动之,风以散之,正居此图中央,及四维之中。雨以润之,日以烜之,则坎次巽,离次震。艮以止之,兑以说之,则艮次坎,兑次离。乾以君之,坤以藏之,则乾次兑,坤次艮。皆由乎中而达乎外,是故左右上下纵横相因,六十四卦方位所由定矣。东南阳方,而乾居之;乾,四月之卦也,故位乎巳。西北阴方,而坤居之;坤,十月之卦也,故位乎亥。泰,正月之卦,而位乎寅。否,七月之卦,而位乎申。此寅、申、巳、亥四隅之位也。冬至子中一阳生,而复卦直之;复,十一月之卦也。夏至午中一阴生,而姤卦直之;姤,五月之卦也。春分卯中,而大壮应二月之卦也。秋分酉中,而观卦应八月之卦也。此子、午、卯、酉四正之位也。辰、戌、丑、未之月,卦偏居而附於四隅。临十二月卦与泰伍,故后天丑、寅纳艮,而位乎东北;夬三月卦与乾亲,故后天辰、巳纳巽,而位乎东南。遯六月卦与否近,故后天未、申纳坤,而位乎西南。剥九月卦与坤邻,故后天戌、亥纳乾,而位乎西北,以应地之方也。又若以乾上坤下观之,则八卦为经,而五十六卦左右为纬,《传》所谓天地设位,而易行乎其中者也。若以否上泰下观之,则八卦成列,而五十六卦上下相交,《传》所谓乾坤成列,而易立乎其中者也。周维二十八卦,上应天之二十八宿。自乾至大畜,凡七卦,上应东方苍龙七宿,角起於乾,则辰当亢金龙,而卯当房日兔。自泰至谦,凡七卦,应北方玄武七宿,丑当牛金牛,而子当虚日鼠。自坤至萃,凡七卦,应西方白虎七宿,戌当娄金狗,而酉当昴日鸡。自否至履,凡七卦,应南方朱鸟七宿,未当鬼金羊,而午当星日马。故曰:在天成象,在地成形。而贲之《彖》曰:观乎天文以察时变,观乎人文以化成天下者也。
《周易参同契》曰:朔旦为复䷗,阳气始通。出入无疾,立表微刚。黄钟建子,兆乃滋彰。播施柔暖,藜蒸得常。䷒临炉施条,开路正光。光耀浸进,日以益长。丑之大吕,结正低昂。仰以成䷊泰,刚柔并隆。阴阳交接,小往大来。辐凑於寅,运而趍时。渐历䷡大壮,侠列卯门。榆荚堕落,还归本根。刑德相负,昼夜始分。䷪夬阴以退,阳升而前。洗濯羽翮,振索宿尘。䷀乾健盛明,广被四邻。阳终於巳,终而相干。䷫姤始纪绪,履霜最先。井底寒泉,午为蕤宾。宾服於阴,阴为主人。䷠遁去世位,收敛其精。怀德竢时,栖迟昧冥。䷋否闭不通,萌者不生。阴伸阳诎,没阳姓名。䷓观其耀景,察仲秋情。任蓄微稚,老枯复荣。荠麦牙蘗,同冒以生。䷖剥烂支体,消灭其形。化气既竭,亡失至神。道穷则反,归乎䷁坤元。恒顺地理,承天布宣。玄幽远眇,隔阂相连。应度育种,阴阳之原。寥廓恍惚,莫知其端。先迷失轨,后为主君。无平不陂,道之自然。变易更盛,消息相因。终坤始复,如循连环。帝王承御,千秋常存。邵子《大易吟》曰:天地定位,否、泰反类;山泽通气,损、咸见义;雷风相薄,恒、益起意;水火相射,既济、未济。四象相交,成十六事;八卦相重,为六十四。朱子谓此释方图两交股底卦,东南角乾,便对西北角坤,旧作东南角坤,便封西北角乾。天地定位也。西南角否,对东北角泰,否、泰反类也。不知怎生恁地巧。新安程氏直方曰:邵子云先天学,心法也,图皆从中起,万化万事生於心也。曰皆者,兼方圆图而言也。天地定位,圆图从中起也。雷动风散,方图从中起也。圆者动,以定位为本;方者静,以动散为用。动而无动,静而无静,固先天之心法与。
《传》曰:八卦成列,象在其中矣。因而重之,爻在其中矣。刚柔相推,变在其中矣。系辞焉而命之,动在其中矣。吉凶悔吝,生乎动者也。
右《下系》首节,盖发明先天六十四卦方图之义。八卦成列者,乾、兑、离、震、巽、坎、艮、坤成行列也。此自上而数向下,自左而数向右也。若自中而数向外,则震、离、兑、乾、巽、坎、艮、坤亦成列也。以至横斜、曲直、左右、前后,莫不皆然,而天、地、水、火、雷、风、山、泽之象在其中矣。因而重之者,八卦之上各加八卦,分阴分阳,迭用柔刚,而初、二、三、四、五、上之六爻在其中矣。刚柔相推者,刚生於复之初九,自一而二、三、四、五,以次推上,而至於乾之六;柔生於垢之初六,自一而二、三、四、五,以次推下,而至於坤之六,则卦爻之变在其中矣。圣人因卦爻之变,系之以吉凶悔吝之辞,则举天下之动在其中矣。
易象图说内篇卷中竟
1.在”原作“左”,据四库本改。
2.“其时”一四库本作“其叙”。
3、4.“揫”字正统道藏为
。
易象图说内篇卷下 清江后学张理仲纯述
卦画九

右六十四卦变通之图
《传》曰:刚柔者,立本者也。变通者,趋时者也。吉凶者,贞胜者也。天地之道,贞观者也。日月之道,贞明者也。天下之动,贞夫一者也。
右《传》盖发明后天六十四卦变通之义。刚柔者,变通之本体。变通者,刚柔之时用。以图推之,乾刚坤柔,位乎上下,乃不易之定体,故曰:刚柔者,立本者也。坤初爻柔变而趋於刚,为复,为临,为泰,为大壮,为夬,进之极而为乾,自冬而夏也。乾初爻刚化而趋於柔,为姤,为遯,为否,为观,为剥,退之极而为坤,自夏而冬也。故曰:变通者,趋时者也。故夫乾、坤以初爻变,而一阴一阳之卦各六,皆自复、姤而推之;二爻变,而二阴二阳之卦各十有五,皆自临、遯而推之;三爻变,而三阴三阳之卦各二十,皆自泰、否而推之;四爻变,而四阴四阳之卦各十有五,皆自大壮、观而推之;五爻变,而五阴五阳之卦各六,皆自夬、剥而推之,纵横上下,反复相推,无所不可。在识其通变,则无所拘泥,而无不通。《传》所谓变动不居,周流六虚;上下无常,刚柔相易;不可为典要,唯变所适。然阳主进,自复而左升;阴主退,自姤而右降。泰、否则阴阳中分,自寅至申皆昼也。而乾实冒之,自酉至丑皆夜也。而坤实承之,故《上系》言:变化者,进退之象;刚柔者,昼夜之象也。或刚或柔,有失有得,而吉凶之理常相胜也。乾上坤下,定体不易,天地之道,贞观者也。离南坎北,日丽乎昼,月显乎夜,日月之道,贞明者也。天下之动,其变无穷,顺理则吉,逆理则凶,则其所正而常者,有恒以一之,是亦一理而已矣。
按朱子谓《参同契》以乾、坤为鼎器,坎、离为药物,余六十卦为火候。今以此图推之,盖以人身形合之天地阴阳者也。乾为首而居上,坤为腹而居下,离为心,坎为肾。心,火也;肾,水也。故离上而坎下。阳起於复,自左而升,由人之督脉阳脉也起,自尻循脊背而上走於首;阴起於姤,自右而降,由人之任脉阴脉也至,自咽循膺胸而下起於腹也。上二十卦法天。天者,阳之轻清,故皆四阳、五阳之卦。下二十卦法地。地者,阴之重浊,故皆四阴、五阴之卦。中二十卦象人。人者,天地之德,阴阳之交,故皆三阴、三阳之卦,亦如人之经脉、手足,各有三阴三阳也。又人上部法天,中部法人,下部法地,亦其义也。由是言之,则《参同》之义不诬矣。若夫恒卦居中,则《书》所谓若有恒性,《传》所谓恒以一德,《孟子》所谓恒心而恒之。《彖》曰:日月得天而能久照,四时变化而能久成,圣人久於其道而天下化成;观其所恒,而天地万物之情可见矣。
卦画十

右六十四卦致用之图
《说卦》曰:帝出乎震,齐乎巽,相见乎离,致役乎坤,说言乎兑,战乎乾,劳乎坎,成言乎艮。
右明后天六十四卦用图之象。其卦位所由定,朱子盖尝致疑,以为然且当阙之,不必强通。而后儒1以卦爻交易,五行次序为说者,不过因其见在之位,以意附会臆度,非有所根据也。今按河图象数变合,复推先天卦位及世俗所传卜筮诸书,更为之图,而绎其说曰:乾起於西北者,天倾西北之义也。(原缺◇◇◇◇◇◇◇◇◇◇◇◇◇◇◇◇◇◇◇◇◇◇◇◇)乾既位西北,则坤当位东南,以地不满东南,故巽长女代居其位,巽亦先天兑之反也。是以坤退居西南,三爻皆变而之乾;乾三爻皆变而之坤,互相反对,而乾、坤之位纵矣。离火炎上而居南,坎水润下而居北。坎三爻皆变而之离,离三爻皆变而之坎,亦互相反对,而坎、离之位纵矣。艮反先天震而位乎东北,巽反先天兑而位乎东南。艮三爻皆变而之兑,反而观之,则为巽;巽三爻皆变而之震,反而观之,则为艮,亦互相反对,而艮、巽之位纵矣。电激而雷,故震居正东先天离位,离火炎上,故以上爻变震。三爻皆变而之巽,反而观之,则为兑。水潴为泽,故兑居正西先天坎位,坎水润下,故以下爻变兑。三爻皆变而之艮,反而观之,则为震,故震、兑左右相反对,而其位横矣。邵子曰:震、兑横而六卦纵,《易》之用也。至哉言乎,惟其如此,故今时所传卜筮宫卦,亦乾、坤相反,坎、离相反,震、兑相反,艮、巽相反。乾宫之姤自坤,而反观之,则为夬;乾之遯,反坤之大壮;乾之否,反坤之泰;乾之观,反坤之临;乾之剥,反坤之复也。坎宫之节自离,而反观之,则为涣;坎之屯,反离之蒙;坎之既济,反离之未济;坎之革,反离之鼎;坎之丰,反离之旅也。艮宫之贲自巽,而反观之,则为噬嗑;艮之大畜,反巽之无妄;艮之损,反巽之益;艮之睽,反巽之家人;艮之履,反巽之小畜也。震宫之豫自兑,而反观之,则为谦;震之解,反兑之蹇,震之恒,反兑之咸;震之升,反兑之萃;震之井,反兑之困也。其游魂、归魂二卦,谓其不在八宫正变之列。以本宫第五爻变而得外体之卦,内三爻皆变,则为游魂。曰游者,自内而之外也。第五爻变而内三爻不变,则为归魂。曰归者,自外而反内也。周旋左右,升降上下,王者之礼法尽於是矣。
明蓍策

《传》曰:大衍之数五十,其用四十有九。朱子曰:大衍之数,盖取河图中宫天五乘地十而得之。以五乘十,以十乘五,而亦皆得五十焉。至用以筮,则又止用四十有九,皆出於理势之自然。非人之智力所能损益也。
右蓍四十九策,绦作一束,法太极全体之象。其数之所以然,盖总八卦生爻之实也。阳仪之画七,仪一画,象二画,卦四画。阴仪之画七,仪一画,象二画,卦四画。因而七之,七七而四十有九。《传》曰:蓍之德圆而神。圆者,其数奇,以七圆聚而簇之,则有自然之圆矣。卦之德方以知。方者,其数偶,八方比而叠之,则有自然之方矣。神者,妙用不测;知者,变通不拘。蓍阳卦阴,蓍动卦静,大《易》之体用至矣。

《传》曰:分而为二以象两,挂一以象三。两者,天地也;三者,人也;挂者,悬置也,《韵会》曰置而不用是也。旧说挂於小指、次指间,故训再扐而后挂不通,而以为明第二变不可不挂。一字之训不明,而有不胜其支离矣。
右蓍四十有九策,分而为二以象两仪,而挂置一策於中以象人,左右策四十有八,盖总卦爻之实也。八卦经画二十有四,重之则为四十有八;又每卦各八变,其爻亦四十有八也。其揲法先以左手取左半之策握之,而以右手取右半一策挂置于中,而不复动,以象人居天地之中;其阴阳、寒暑、昼夜、变化一听于天,而无与焉。一虽无与,而常与四十有八者并用。参为三才者也。次以右手四揲左手之策而归其奇,或一或二、或三或四,於小指、次指之间,谓之扐,象三年一闰。又以右手取右半之策,余一2取三,余三取一,余二取六,余四取四,归於次指、中指之间,谓之再扐,象五年再闰。而后挂者,谓总所归二奇置於挂之一所,如挂一法,《韵会》曰合而置之是也。其归奇之数,不四则八,无所谓不五则九。得四为奇,一个四也。得八为偶。两个四也。於是复合过揲之策,或四十四,或四十,分、揲、归、挂如前法,为第二变。又合所余过揲之策,或四十,或三十六,或三十二,分、揲、归、挂亦如前法,为第三变。三变之后,然后视其所挂之策,得三奇为老阳,三偶为老阴。两偶一奇,以奇为主,为少阳;两奇一偶,以偶为主,为少阴。每三变而成一爻,十有八变而成一卦;一卦可变而为六十四卦,而四千九十六卦在其中矣。

《传》曰:揲之以四以象四时,归奇於扐以象闰;五岁再闰,故再扐而后挂。此图四揲之余,左余一则右余三,左余三则右余一,则两仪归奇之阳数也。左余二则右取余六,左余四左则右亦余四,两仪归奇之阴数也。
朱子曰:奇之象圆,圆者径一而围三,阳用其全;老阳三奇,三三为九,过揲之数亦四九三十有六。偶之象方,方者径一而围四,阴用其半;老阴三偶,三二为六,过揲之数亦四六二十有四。少阳一奇二偶,一奇三,二偶二,积一三、二二为七,过揲之数亦四七二十有八。少阴一偶二奇,一偶二,二奇三,积一二、二三3为八,过揲之数亦四八三十有二。此蓍数卦画自然之妙也。

右每三变而成一爻,三变皆得奇,有类於乾,其画为
,识其以阳变阴也。三变皆得偶,有类於坤,其画为×,识其以阴变阳也。三变得两奇一偶,以偶为主,即其偶之在初,在二,在三,有类於巽、离、兑,其画为⚋而不变。三变得两偶一奇,以奇为主,即其奇之在初,在二,在三,有类於震、坎、艮,其画为⚊而不变。凡有是八体,亦八卦之象也。为⚊者,二十四体。为⚋4者,亦二十四体。为
者,八体。为×者,八体。共六十有四,图说如后。

右两偶一奇,以奇为主,为少阳艮、坎、震之策,凡二十有四。以三变,方得奇,为艮之策八。再变,得奇,为坎之策八。初变,得奇,为震之策八。归扐得二十策,过揲得二十八策,以四约之,归扐得五,五个五,过揲得七,七个四,为阳之正而不变。

右两奇一偶,以偶为主,为少阴巽、离、兑之策5;凡二十有四。以初变,即得偶,为巽之策八。再变,得偶,为离之策八。三变,得偶,为兑之策八。归扐得十六策,过揲得三十二策,以四约之,归扐得四,四个四,过揲得八,八个四,为阴之正而不变。

右三变皆奇,为老阳,乾之策者八。归扐得十二策,过揲得三十六策,以四约之,归扐得三,三个四,过揲得九,九个四,九者,阳之极,变而为阴。《易》以变为占,凡阳爻之变者,通谓之九。

右三变皆偶,为老阴,坤之策者八。归扐得二十四策,过揲亦得二十四策,以四约之,归扐得六,六个四,过揲亦得六,六个四,六者,阴之极,变而为阳。《易》以变为占,凡阴爻之变者,通谓之六。
右八卦之体各八,合而为六十四卦之象焉。其揲法从程子。张子云:再变、三变不挂而得之。盖初变既挂一以象人,置而不用;后二变乃蒙上不复挂者为是也。揲左不揲右,从唐张辕、庄绰二家。盖天动地静,阳变阴合,地承天而行,於义为当。左余一而右承之以三,余三而承之以一者,成其为奇之阳也。左余二而右承之以六,余四而承之以四者,成其为偶之阴也。阴、阳、太、少均齐平正,若如近世三变皆挂、左右并揲之法,则为老阳者十二,少阴二十八,少阳二十,老阴四,参差多寡不齐;如前一变挂,后二变不挂,而亦左右并揲之法,则为太阳者二十七,少阴二十七,少阳九,太阴一,虽皆六十有四,然太阴之体极少。盖有终岁揲蓄,而不得遇纯坤之变乾者矣。明变之士,幸研几焉。
考变占

《乾》之策二百一十有六,《坤》之策百四十有四,凡三百有六十,当期之日。二篇之策,万有一千五百二十,当万物之数也。是故四营而成《易》,十有八变而成卦,八卦而小成。引而伸之,触类而长之,天下之能事毕矣。
乾之策,以老阳之数三十六乘以六爻之数,则为二百一十有六。坤之策,以老阴之数二十四乘以六爻之数,则为百四十有四。合之,凡三百有六十。当期之日者,周十二月为一期,以朔言之,则三百五十有四日;以气言之,则三百六十五日四分日之一;举气盈朔虚之中数言之,故曰三百有六十也。然少阳之策二十有八,积乾六爻之策,则百六十有八。少阴之策三十有二,积坤六爻之策,则百九十有二,合之亦三百有六十。而《大传》不言者,以《易》用九、六,而不用七、八也。二篇者,上下经六十四卦也。阳爻百九十二,以老阳三十六乘之,积六千九百十有二。阴爻百九十二,以老阴二十四乘之,积四千六百有八。合之,则为万有一千五百二十,当万物之数。然以少阳二十八乘阳爻百九十二,积五千三百七十有六。少阴三十二乘阴爻百九十二,积六千一百四十有四。合之,亦万有一千五百二十。是知少阴、少阳之数,隐於老阴、老阳之中;七、九皆为阳而奇,六、八皆为阴而偶,此乾、坤九、六之旨如是也。
乾卦用九:见草龙无首,吉。坤卦用六:利永贞。右明六十四卦九、六变占之通例。朱子曰,凡卦六爻皆不变,则占本卦彖辞,而以内卦为贞,外卦为悔。按《左氏传》孔成子筮立卫公子元,遇屯䷂震下坎上曰:利建侯。秦伯伐晋,筮之遇蛊䷑巽下艮上,曰:蛊之贞,风也;其悔,山也。此卦六爻不变,占本卦彖辞卦象之例也。
一爻变,则以本卦变爻辞占。晋毕万遇屯䷂震下坎上之比䷇坤下坎上,初爻九也。蔡墨遇乾䷀乾下乾上之同人䷌离下乾上,二爻九也。晋文公遇大有乾下离上之睽䷥兑下离上,三爻九也。陈敬仲遇观䷓坤下巽上之否䷋坤下乾上,四爻六也。南蒯遇坤䷁坤上坤下之比䷇坤下坎上,五爻六也。晋献公遇归妹䷵兑下震上之睽䷥兑下离上,上爻六也。此一爻变,占本卦爻辞之例也。
二爻变,则以本卦二变爻辞占,仍以上爻为主,《传》无例。
二爻变,则占本卦及之卦彖辞,而以本卦为贞,之卦为悔。公子重耳筮得国遇贞屯䷂震下坎上悔豫䷏坤下震上皆八,盖初、五爻得九,四爻得六,凡三爻变。二爻、三爻、上爻在两卦皆八,而司空季子占之曰:皆利建侯。此三爻变例也。又变在前十卦主贞,后十卦主悔,见《启蒙》六十四卦变图。
四爻变则以之卦二不变爻占,仍以下爻为主,《传》无例。
五爻变,则以之卦不变爻占。穆姜往东宫,遇艮之八䷳艮下艮上,史曰:是谓艮之随䷐震下兑上。盖初、四、五三爻得六,三、上爻得九,凡五爻皆变。惟二爻得八,不变。法宜用随卦六二系小子、失丈夫为占,而史乃妄引随之彖辞以为对,非也。
六爻变,惟乾坤占二用,余卦占之卦彖辞。蔡墨曰:乾之坤曰见群龙无首吉。此其例也。於是一卦可变六十四卦,而四千九十六卦在其中矣。引而伸之,触类而长之,天下之能事毕矣。
易象图说内篇卷下竟
1.“后儒”原作“后需”,据四库本改。
2.“余一”原脱,据四库本补。
3.“三”原作“二”,据四库本改。
4.“⚋”原作“⚊”,据四库本改。
5.“策”原作“荣”,据四库本改。后文同此。
